博睿康冲刺IPO 脑机接口领域争夺第一股

2026年02月08日 19:15
本文共计2776个字,预计阅读时长10分钟。
来源/机器人大讲堂 责编/爱力方

2026年2月,上海证监局IPO辅导备案系统迎来一家备受瞩目的公司——博睿康技术(上海)股份有限公司。这家专注于脑机接口技术的高科技企业正式启动科创板上市进程,由中信证券担任辅导机构。

 

几乎与此同时,彭博社报道称,另一家脑机接口企业强脑科技已以保密形式递交港股IPO申请。一时间,“中国脑机接口第一股”的归属引发市场广泛关注。

01.

清华实验室走出的产业化征程

博睿康成立于2011年11月,最初注册于常州,于2025年迁至上海并完成更名。公司的核心团队源于清华大学生物医学工程学院神经工程实验室,该实验室在脑机接口领域长期保持国际前沿水平。

 

创始人胥红来与联合创始人黄肖山均出身于清华大学生物医学工程专业。在脑机接口仍属于前沿科学、临床应用寥寥无几的时期,团队便敏锐洞察到这项技术解决临床痛点的潜力:帮助神经损伤患者恢复功能,挑战“中枢神经不可修复”的传统医学认知。

胥红来提出的“脑机接口三阶段论”构成了公司的发展蓝图——从神经功能修复,到认知能力增强,最终探索脑机融合的可能性。这一构想明确了公司从切实临床需求切入的发展路径。

成立初期,博睿康主要面向科研市场,为清华大学、中科院等顶尖机构提供脑电采集设备。这些业务虽“小而美”,却为公司积累了宝贵的研发经验与行业认知。

 

然而,博睿康并未止步于此。当Neuralink在海外高调推进植入式脑机接口时,这家中国公司已悄然铺就自身的临床转化之路。

02.

NEO系统的临床验证之路

2023年10月,首都医科大学宣武医院的手术室内,一场特殊手术正在进行。博睿康研发的NEO脑机接口系统被植入一名患者体内,成为中国首例微创植入式脑机接口临床手术。

一枚直径如硬币、厚度仅3毫米的圆形设备被植入患者颅骨上方、头皮之下。这个精巧的装置内含8个电极,放置于大脑感觉运动皮层区域,形成一个长期稳定的双向闭环脑机接口系统。

 

术后数据显示,患者能够通过意念控制外部气动手套,完成抓握动作。早期结果令人振奋:一名脊髓损伤患者在家中使用系统9个月后,成功恢复了自主进食和饮水的能力。

 

2024年8月,NEO系统进入国家药监局创新医疗器械特别审评通道,成为国内首款获此资格的脑机接口产品。这不仅意味着审批流程的加速,更代表了国家对这项技术创新的认可。

真正的规模化验证发生在2025年下半年。三个月内,全国11家顶尖医院为32位颈部脊髓损伤患者植入了NEO系统。患者累计安全植入时间近5000天,术后未出现一例器械相关不良反应。更重要的是,所有患者的手部功能均得到显著改善,抓握准确率超过90%。

这些数据初步验证了硬膜外微创植入路径的安全性与长期可行性,为后续产品注册奠定了坚实基础。

03.

行业背景与竞争格局

根据信号采集方式的不同,脑机接口技术主要分为非侵入式(头皮脑电EEG)、半侵入式(皮层脑电ECoG)和侵入式(颅内电极)三类。博睿康的NEO系统采用半侵入式的硬膜外电极方案,在信号质量与手术创伤之间寻求最佳平衡。

博睿康NEO系统采用“半侵入式技术路径” 

全球范围内,Neuralink等公司正推进侵入式脑机接口的临床研究。与Neuralink将电极植入脑实质的方案相比,硬膜外路径在手术风险与长期安全性方面可能具备不同特点,两者的临床优劣仍需更多数据验证。

在国内,除博睿康外,亦有多个企业与科研机构在脑机接口的不同技术路线上进行探索。强脑科技等公司则主要专注于非侵入式技术在消费与康复领域的应用。行业分析普遍认为,医疗康复是脑机接口技术近期最明确的落地场景。随着全球老龄化加剧及神经系统疾病负担加重,能够改善患者功能与生活质量的技术存在清晰的临床需求。

04.

技术迭代与研发规划

据创始人介绍,目前申报医疗器械注册的为NEO 1.0版本。下一代2.0版本正在研发中,计划增加对语言神经信号解码、更精细肢体运动控制等功能的支持。长期技术目标则聚焦于进一步提升信号采集通量、降低植入创伤、优化系统功耗与成本。

公司的研发工作不仅限于产品本身。作为一项融合神经外科、信号处理、机器学习、康复工程等多学科的技术,博睿康也积极参与手术标准化流程、术后康复方案及医生培训体系的建设,这些均是技术实现临床转化不可或缺的环节。

 

博睿康的业务布局呈现双轨制:一方面继续服务科研市场,提供多种脑电采集与处理设备;另一方面重点推进临床级植入式产品的注册与商业化。

在科研市场,公司产品已应用于神经科学、心理学、人因工程等多个基础与应用研究领域。公开市场信息显示,博睿康在国内高精度科研级脑机接口设备市场中占有率居前。

NeuSen tES Portable 经颅电刺激系统 

在临床市场,公司路径明确指向医疗器械注册。产品主要定位于辅助因神经系统损伤导致运动功能障碍的患者进行康复训练与功能代偿,这使其研发、审批与商业化全程遵循严格的医疗监管体系。

博睿康的商业逻辑基于一个清晰认知:脑机接口不仅是前沿科技,更是解决临床实际问题的工具。从帮助瘫痪患者重获生活自理能力开始,逐步拓展至更广泛的应用场景。

2024年12月,NEO系统获得国际顶级期刊《自然》的关注,被列为2025年值得关注的八大科学事件之一,与马斯克的Neuralink并列为脑机接口领域的代表性进展。

05.

资本追逐下的估值跃升

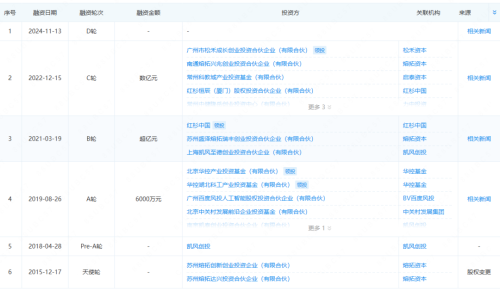
脑机接口研发需要长期、大量的资金投入。博睿康在启动IPO前已完成多轮融资,背后汇聚了颇为豪华的投资阵容。

公司早期融资相对低调:2015年1200万元天使轮,2018年3000万元Pre-A轮,2019年6000万元A轮。

随着技术突破与临床进展,投资机构对博睿康的关注度日益提升。红杉中国、凯风创投、松禾资本、华控基金、联新资本等知名机构陆续入局。2024年D+轮融资后,公司估值已达35-40亿元。2025年11月,招商局中国基金通过其全资附属公司出资1500万元,参与了博睿康的E轮融资。

 

对博睿康而言,启动科创板IPO是其发展历程中的关键节点。

科创板对企业科技创新能力、研发投入强度、核心技术自主性及成长潜力均有明确要求。

公司需向监管机构与投资者证明的,不仅是技术的先进性与安全性,还包括产品的可生产性、质量稳定性、成本可控性以及清晰的商业化前景。作为三类高风险医疗器械,其注册审批进度、医保支付可能性、医院终端推广效率等,都将影响长期价值。

从行业视角看,脑机接口企业公开上市,将使更多技术细节、临床数据、商业模式和财务信息进入公众视野。这有助于市场更理性地评估技术成熟度、实用价值与投资风险,推动行业从概念聚焦走向务实发展。

“中国脑机接口第一股”的称号固然具有传播效应,但对技术长远发展而言,通过公开市场检验,建立可持续的研发、生产、临床与商业体系,才是更为实质的里程碑。博睿康的科创板之旅,正是这一进程中的重要一步。

来源:博睿康冲击IPO,“脑机接口第一股”竞速 | 机器人大讲堂

声明:本文来自机器人大讲堂,版权归作者所有。文章内容仅代表作者独立观点,不代表A³·爱力方立场,转载目的在于传递更多信息。如有侵权,请联系 copyright#agent.ren。

相关图文

热门资讯

推荐专栏

爱力方

爱力方

机器人前沿资讯及信息解读
机器人大讲堂

机器人大讲堂

中国顶尖的机器人专业媒体服务平台
关注爱力方,掌握前沿具身智能动态

© 2025 A³·爱力方

https://www.agent.ren/